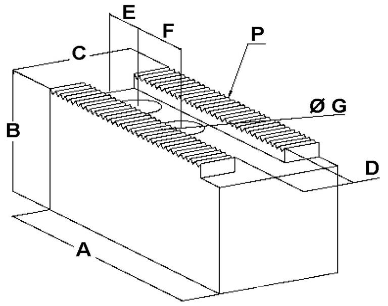
Koneistus » Työkalupitimet » Sorvin pakan leuat » Pehmeät leuat » Pehmeä leuka HKM 53.3.01 Pehmeä leuka HKM 53.3.01 75,60 € Tuotekoodi HKM 53.3.01 Määrä Lisää tilaukseen Saatavuus Tilaustuote Lisätiedot › SAMCHULLY: Ø 454-610KITAGAWA: HJ450; HJ18; B530; B21; HJ21; HJ530; HOB21; B600; B24; HJ610; HJ24; HOB24; HJA15-24Ø: 454-610P: 3x60°TIPO: IVA: 200B: 70C: 70D: 25E: 40F: 60G: 21M: -KG: 6,6 Näytä lisää tuotteitaPehmeät leuat tuoteryhmästä