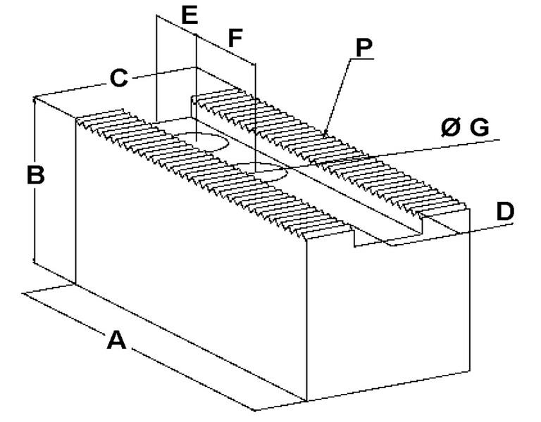
Koneistus » Työkalupitimet » Sorvin pakan leuat » Pehmeät leuat » Pehmeä leuka HKM 38.3.00 Pehmeä leuka HKM 38.3.00 49,20 € Tuotekoodi HKM 38.3.00 Määrä Lisää tilaukseen Saatavuus Tilaustuote Lisätiedot › SAMCHULLY: Ø 381-454MATSUMOTO: HA11-15; H15; HH15; HHL15; HA11-18; H18; HH18Ø: 381-454P: 3x60°TIPO: IIIA: 155B: 60C: 60D: 22E: 30F: 50G: 21M: -KG: 3,7 Näytä lisää tuotteitaPehmeät leuat tuoteryhmästä