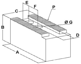
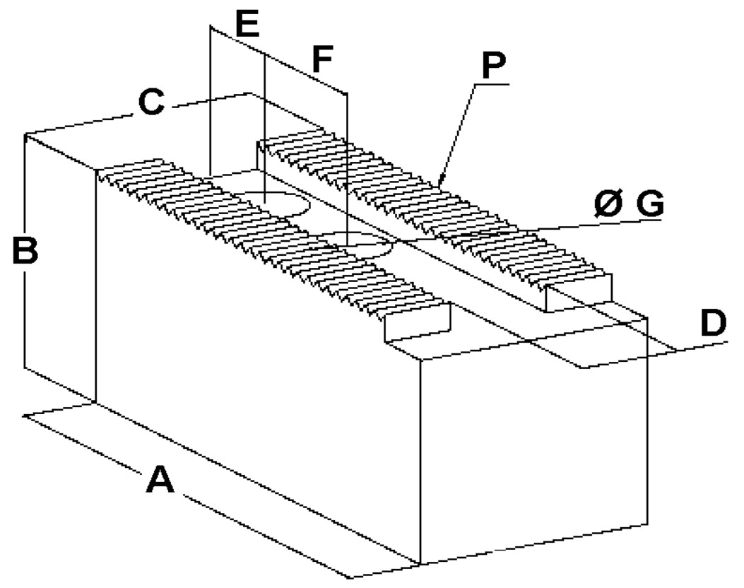
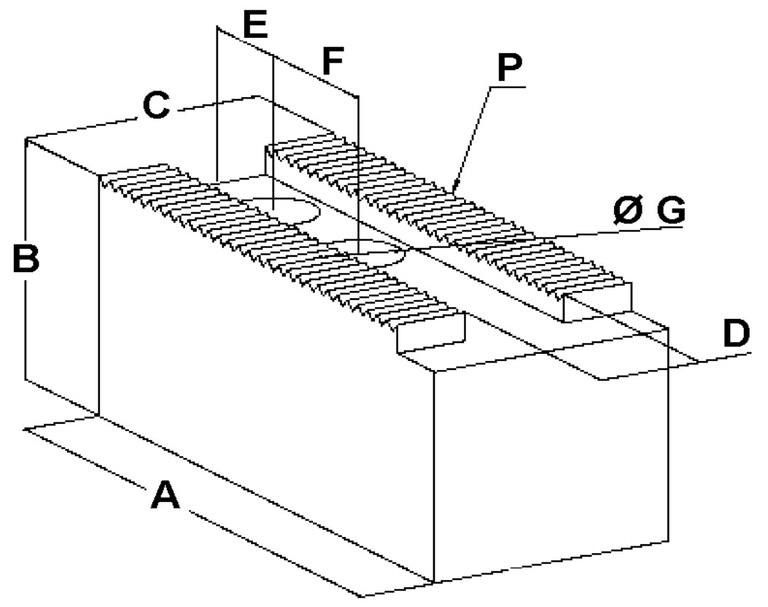
Koneistus » Työkalupitimet » Sorvin pakan leuat » Pehmeät leuat » Pehmeä leuka HKM 38.11 Pehmeä leuka HKM 38.11 70,50 € Tuotekoodi HKM 38.11 Määrä Lisää tilaukseen Saatavuus Tilaustuote Lisätiedot › SAMCHULLY: Ø 381-454KITAGAWA: N15; N18Ø: 381-454P: 1.5x60°TIPO: IVA: 165B: 70C: 70D: 25,5E: 37F: 43G: 21M: -KG: 5,4 Näytä lisää tuotteitaPehmeät leuat tuoteryhmästä