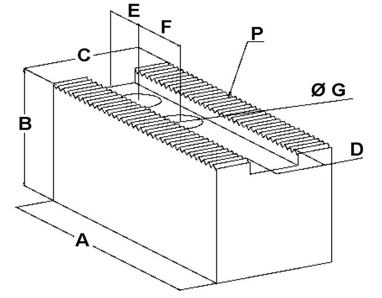
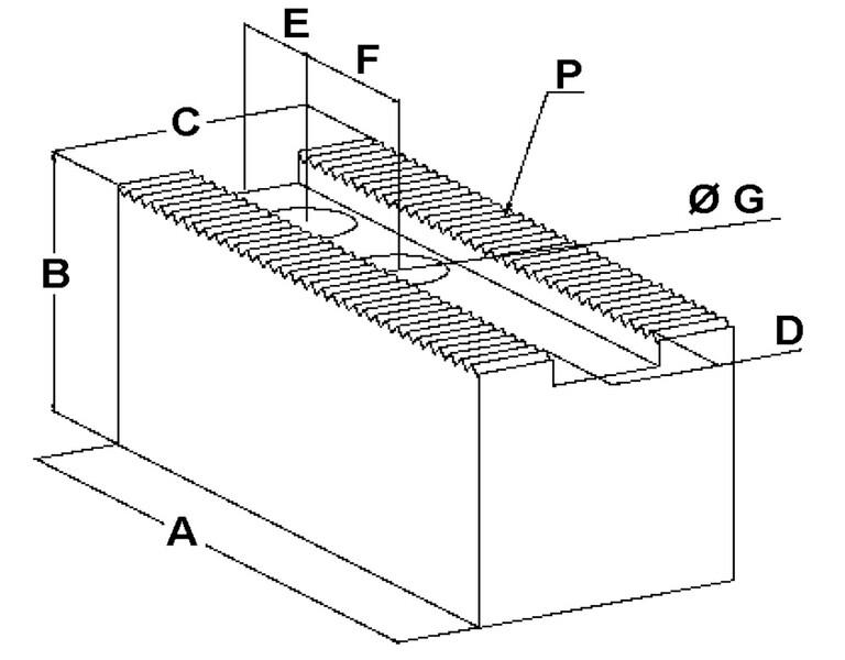
Koneistus » Työkalupitimet » Sorvin pakan leuat » Pehmeät leuat » Pehmeä leuka HKM 38.02 Pehmeä leuka HKM 38.02 70,00 € Tuotekoodi HKM 38.02 Määrä Lisää tilaukseen Saatavuus Tilaustuote Lisätiedot › SAMCHULLY: Ø 381-454KITAGAWA: B380; B-15; HOH15; HOB15; HOH380; HOH15-K; HOH18; B-450; B-18; HOB18Ø: 381-454P: 1.5x60°TIPO: IIIA: 155B: 100C: 60D: 22E: 37F: 43G: 21M: -KG: 6,0 Näytä lisää tuotteitaPehmeät leuat tuoteryhmästä