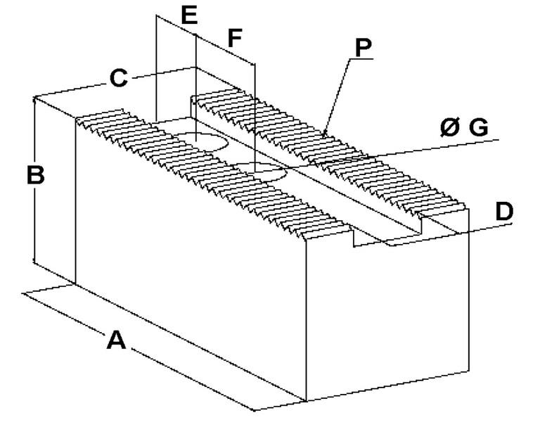
Koneistus » Työkalupitimet » Sorvin pakan leuat » Pehmeät leuat » Pehmeä leuka HKM 38.00 Pehmeä leuka HKM 38.00 49,20 € Tuotekoodi HKM 38.00 Määrä Lisää tilaukseen Saatavuus Tilaustuote Lisätiedot › SAMCHULLY: Ø 381-454KITAGAWA: B380; B-15; HOH15; HOB15; HOH380; HOH15-K; HOH18; B-450; B-18; HOB18Ø: 381-454P: 1.5x60°TIPO: IIIA: 155B: 60C: 60D: 22E: 37F: 43G: 21M: -KG: 3,7 Näytä lisää tuotteitaPehmeät leuat tuoteryhmästä