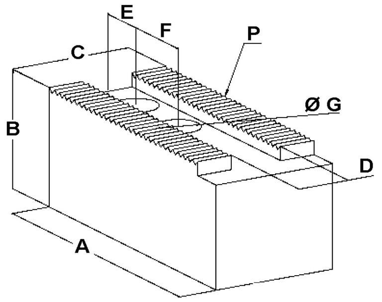
Koneistus » Työkalupitimet » Sorvin pakan leuat » Pehmeät leuat » Pehmeä leuka 10.22.11/A Pehmeä leuka 10.22.11/A 73,10 € Tuotekoodi 10.22.11/A Määrä Lisää tilaukseen Saatavuus Tilaustuote Lisätiedot › AUTOBLOK: HYDS500; HYD500; IDN500; IDL500; HYD630Ø: 500-630P: 3/32"x90°TIPO: IVA: 160B: 70C: 70D: 28E: 25F: 38G: 21M: /KG: 5,1 Näytä lisää tuotteitaPehmeät leuat tuoteryhmästä